GN30-12KV户内旋转式隔离开关带单相接地
- 供应商:西安华仪电气有限公司
- 供应商报价:面议
- 标签:GN30-12KV户内旋转式隔离开关带单相接地

概述
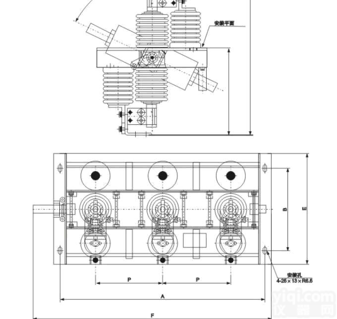
GN30-12型旋转式户内高压开关是一种旋转触刀式的新型隔离开关,主要结构是在三相共底架的上、下两个平面上,固定两组绝缘子及触头,通过旋转触刀,从而实现开关的分合闸。
GN30-12D型开关是在GN30-12型开关基础上增加带接地刀的形式,可满足不同电力系统的需要。本产品设计紧凑、占用空间小、绝缘能力强、易于安装调整,其性能符合GB1985-89《交流高压隔离开关和接地开关》的要求,适用于额定电压10千伏交流50Hz及以下户内电力系统中,作为在有电压无负载情况下,分合电路之用。既可与高压开关柜配套使用,也可单独使用。GN30-12KV户内旋转式隔离开关带单相接地
Summary
GN30-12 rotary indoor high voltage switch is a new type of isolation switch with revolving contactor. Its main structure is to fix two groups of insulators and contacts on the upper and lower planes of three-phase common chassis. By revolving contactor, the switch can be switched on and off.
GN30-12D switch is based on GN30-12 switch with grounding knife, which can meet the needs of different power systems. This product is compact in design, occupies small space, has strong insulation ability and is easy to install and adjust. Its performance meets the requirements of GB1985-89 "AC High Voltage Isolation Switch and Grounding Switch". It is suitable for indoor power system with rated voltage of 10 KV AC 50 Hz and below, and can be used for dividing and closing circuits under the condition of voltage and no load. It can be used with high voltage switchgear or separately.
使用环境条件
a.海拔高度不超过1000m;
b.周围空气湿度: 上限+40℃;下限-10℃
c.相对湿度 日平均值不大于95%月平均值不大于90%;
d.地震烈度不超过8度; GN30-12KV户内旋转式隔离开关带单相接地
e.无严重粉尘.化学腐蚀性和爆炸性物质的场所;
F.无经常性剧烈振动的场所。
Use of environmental conditions
A. Elevation not exceeding 1000m;
B. Ambient air humidity: upper limit + 40 degrees C; lower limit - 10 degrees C
C. The daily average of relative humidity is no more than 95% and the monthly average is no more than 90%.
D. Earthquake intensity does not exceed 8 degrees;
E. Areas free of serious dust, chemical corrosive and explosive substances;
F. Places without frequent violent vibration.
承诺如下:
1. 我厂出售的所有产品保修期为一年,保修期内免费上门维修(人为因素或不可抗拒的自然现
象所引起的故障或破坏除外)。
2. 在接到报修通知后,七个工作日内赶到现场并解决问题。
3. 用户可以通过售后电hua咨询有关技术问题,并得到明确的解决方案。
4. 用户在正常使用中出现性能故障时,本公司承诺以上保修服务。除此以外,国家适用法律法规
另有明确规定的,本公司将遵照相关法律法规执行。
5. 在保修期内,以下情况将实行有偿维修服务;
(1)由于人为或不可抗拒的自然现象而发生的损坏;
(2)由于操作不当而造成的故障或损坏;
(3)由于对产品的改造,分解,组装而发生的故障或损坏。